
Поездная радиосвязь – это неотъемлемый элемент инфраструктуры железнодорожного транспорта, обеспечивающий устойчивое взаимодействие между машинистом, диспетчером и другими участниками перевозочного процесса. Без неё невозможно оперативное управление движением, координация действий при внештатных ситуациях и обеспечение транспортной безопасности.
В стандартной конфигурации поездная радиосвязь должна обеспечивать двустороннюю голосовую связь между локомотивной бригадой и дежурными по станциям, поездными диспетчерами, а также аварийными службами. Минимальные технические требования регламентированы документами, такими как ГОСТ Р 50889 и ведомственными нормативами ОАО «РЖД». В частности, связь должна сохраняться при скорости движения до 160 км/ч и обеспечивать радиус действия не менее 15 км от ближайшего ретранслятора.
Система обязана поддерживать резервирование каналов и автоматическое переключение между ними при ухудшении сигнала. Это особенно важно при прохождении тоннелей, мостов или перегонов с нестабильным покрытием. При этом качество передачи речи должно соответствовать уровню, позволяющему различать команды без искажений, независимо от внешних шумов в кабине.
Для повышения надежности применяются дуплексные и полудуплексные режимы работы, а также цифровое кодирование сигнала, что снижает вероятность перехвата или вмешательства. Современные комплексы радиосвязи включают системы автоматической записи переговоров, что позволяет разбирать спорные ситуации и использовать данные в рамках внутреннего контроля.
Особое внимание уделяется совместимости оборудования с системами безопасности (АЛСН, КЛУБ-У, САУТ). Радиосвязь должна быть интегрирована в комплексный модуль управления локомотивом, обеспечивая обмен данными в режиме реального времени и автоматическую передачу тревожных сигналов при срабатывании критических систем.
Обеспечение устойчивой голосовой связи между машинистом и диспетчером

Голосовая связь между машинистом и диспетчером должна оставаться непрерывной и чёткой на всей протяжённости маршрута. Основное требование – двусторонний аудиоканал с минимальной задержкой передачи, не превышающей 250 мс. Это позволяет своевременно передавать команды, подтверждать их исполнение и реагировать на нештатные ситуации.
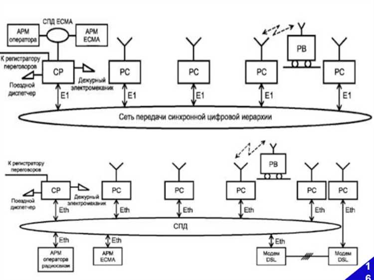
Для устойчивой передачи речи используется цифровая радиосвязь, работающая в лицензированных диапазонах, как правило, в пределах 450–470 МГц. Применение стандарта GSM-R или его аналогов обеспечивает защиту от внешних помех и приоритетность экстренных вызовов. На участках с повышенным уровнем шума и сложным рельефом необходимо устанавливать ретрансляторы с перекрытием зон покрытия не менее чем на 15%.
Аппаратура в кабине машиниста должна быть оснащена встроенной системой шумоподавления и возможностью быстрого переключения между рабочими каналами. Резервирование связи реализуется через автоматическое переключение на дублирующий канал в случае потери сигнала. Устройства должны поддерживать шифрование трафика по стандарту не ниже AES-128.
При организации связи важно учитывать плотность радиотрафика и возможные источники интерференции. Планирование частот должно исключать перекрытие с другими системами железнодорожной инфраструктуры. Каждая станция обязана обеспечивать контроль связи с локомотивом при его приближении и гарантировать переход управления вызовами между диспетчерами без обрыва соединения.
В ходе эксплуатации необходим регулярный контроль качества голосовой связи, включая тестирование уровня сигнала, задержки и разборчивости речи. Рекомендуемая периодичность проверок – не реже одного раза в месяц. Обнаруженные зоны нестабильного приёма должны оперативно включаться в план технического обслуживания сети.
Передача экстренных сигналов при аварийных ситуациях

Система поездной радиосвязи должна поддерживать немедленную передачу аварийных сигналов между машинистом, дежурными по станции, поездным диспетчером и другими участниками движения. В экстренной ситуации время реакции измеряется секундами, поэтому сигнал должен передаваться с минимальной задержкой, не превышающей 1 секунды.
Радиооборудование должно обеспечивать приоритетную передачу экстренного вызова, даже при занятом канале. Для этого применяются технологии прерывания текущей связи (pre-emption) и автоматическое переключение на резервный канал при перегрузке основного.
Сигнализация должна быть стандартизирована: при нажатии кнопки экстренного вызова радиостанция должна автоматически передавать уникальный код тревоги, идентифицирующий источник сигнала и тип угрозы. Это упрощает маршрутизацию сигнала и исключает путаницу в условиях ограниченного времени.
Рекомендуется, чтобы на пульте машиниста кнопка аварийного вызова была изолирована от других элементов управления и защищена от случайного нажатия. Визуальное и звуковое подтверждение активации тревоги обязательно как для машиниста, так и для получателей сигнала.
На всех участках с затруднённым радиопокрытием должны быть установлены ретрансляторы или опорные станции, обеспечивающие надёжную передачу сигнала тревоги. Особое внимание следует уделять тоннельным и загородным участкам с нестабильной связью.
Контроль исправности канала аварийной связи должен выполняться автоматически при каждом запуске радиостанции и периодически в ходе движения. Результаты проверки отображаются на экране терминала машиниста и передаются в центр управления движением.
Контроль работоспособности оборудования радиосвязи в пути

Контроль осуществляется как автоматически, так и вручную. В современных системах используется самодиагностика, при которой оборудование перед каждым рейсом и в пути проводит внутреннюю проверку состояния узлов и модулей. В случае отклонений формируется сообщение с кодом ошибки, которое отображается на панели управления машиниста.
Для оценки стабильности сигнала и обнаружения локальных зон потери связи рекомендуется использовать следующие методы:
- Периодический ручной вызов диспетчера на определённых участках маршрута с фиксацией качества связи;
- Анализ уровней сигнала, регистрируемых приёмопередающим модулем в реальном времени;
- Сравнение отклонений параметров от контрольных значений, заданных для каждой радиозоны.
Если в пути выявлены неполадки, машинист обязан:
- Оповестить диспетчера с указанием характера неисправности и координат;
- Переключиться на резервный канал или использовать вспомогательное оборудование, если предусмотрено конструкцией;
- Вести дальнейшее движение в соответствии с регламентом на случай ограниченной или отсутствующей связи.
В дополнение к техническим средствам целесообразно внедрение автоматизированных систем мониторинга состояния радиосети с передачей данных в реальном времени в диспетчерский пункт. Это позволяет оперативно реагировать на ухудшение параметров связи до момента, когда сбой станет критическим.
Связь между локомотивной бригадой и техническим персоналом

Надёжная радиосвязь между локомотивной бригадой и техническим персоналом позволяет своевременно выявлять и устранять технические неисправности без задержки движения. Эта связь особенно критична при следовании по участкам с повышенной нагрузкой на оборудование или при нестабильных погодных условиях.
Передача диагностических данных в реальном времени позволяет специалистам дистанционно оценивать состояние ключевых узлов локомотива, включая тяговые электродвигатели, тормозную систему и системы энергоснабжения. При наличии предварительных признаков неисправности машинист обязан уведомить техническую службу, указав конкретные параметры и симптомы, что ускоряет подготовку ремонтного вмешательства.
Технические переговоры должны вестись по выделенному каналу с защитой от помех и стороннего вмешательства. Применение цифровых систем с приоритетным доступом гарантирует, что в случае необходимости связи с дежурным электромехаником или специалистом по СЦБ она будет установлена немедленно, без задержек.
Регламент взаимодействия требует, чтобы в начале рейса машинист проверял устойчивость связи с дежурным техническим персоналом депо. При отключении отдельных систем (например, системы контроля осей) также необходимо немедленно установить контакт и получить инструкции по дальнейшим действиям.
Особое внимание уделяется взаимодействию при внештатных ситуациях – перегреве оборудования, сбоях в работе систем управления тягой, утечке воздуха. В таких случаях оперативная консультация с инженером может предотвратить остановку поезда на перегоне.
Для обеспечения функциональности этой линии связи необходимо регулярное тестирование радиоканала, обновление программного обеспечения терминалов и обучение локомотивных бригад по протоколам передачи технической информации.
Синхронизация радиосвязи с системой управления движением поездов

Интеграция поездной радиосвязи с системой управления движением необходима для обеспечения оперативного обмена данными между подвижным составом и центрами управления. Это особенно важно на участках с автоматизированным или диспетчерским регулированием, где задержка в передаче информации может привести к сбоям в графике или нарушениям безопасности.
Передача сигналов радиосвязи должна быть синхронизирована с цифровыми протоколами, используемыми в системе управления движением. Например, в системах АСУТД и МПЦ радиоканалы должны обеспечивать:
- мгновенное подтверждение получения команд;
- автоматическую передачу текущих координат и скорости поезда;
- контроль соблюдения разрешений и ограничений, установленных диспетчером;
- автоматическую синхронизацию времени по единому стандарту (обычно через GPS или ГЛОНАСС);
- устойчивую работу в зонах с плотной застройкой и тоннелях.
Для снижения вероятности конфликтов между различными источниками данных рекомендуется использовать защищённые частотные диапазоны и адаптивное распределение радиоресурсов. Радиосвязь должна быть совместима с используемыми протоколами передачи телеметрии, такими как GSM-R, TETRA или цифровые решения на базе LTE-R.
Особое внимание следует уделить отказоустойчивости: при временной потере связи должна автоматически включаться резервная схема передачи команд через альтернативные каналы (например, ретрансляция через соседние поезда или локальные узлы связи). При этом все события должны регистрироваться в системе управления с временной меткой и идентификатором источника.
Эффективная синхронизация радиосвязи с системой управления невозможна без регулярной проверки актуальности программного обеспечения на терминалах связи и согласования параметров конфигурации с требованиями конкретного участка железной дороги.
Автоматическая регистрация переговоров и служебных сообщений

Поездная радиосвязь должна обеспечивать автоматическую регистрацию всех голосовых переговоров и служебных сообщений без участия оператора. Запись ведется в цифровом формате с точной временной маркировкой и идентификацией источника передачи.
Хранение данных предусматривается на съемных носителях или в облачных системах с защитой от несанкционированного доступа. Продолжительность хранения должна соответствовать требованиям нормативных актов и внутренних правил транспортных компаний, обычно не менее 30 суток.
Качество записи определяется частотой дискретизации не ниже 16 кГц и битрейтом не ниже 64 кбит/с, что позволяет сохранить разборчивость речи при последующем анализе.
Системы регистрации должны поддерживать автоматическую архивацию и возможность быстрого поиска по времени, номеру поезда, участнику переговоров или типу сообщения.
Рекомендуется внедрение функций автоматического оповещения о неполадках в работе оборудования регистрации, а также интеграция с системами контроля и анализа радиосвязи для повышения безопасности движения.
Обеспечение связи на перегоне, в тоннелях и на станциях
На перегоне радиосвязь должна обеспечивать непрерывный устойчивый канал передачи данных и голоса на расстоянии до 10 км между локомотивом и пунктами управления. Для этого применяются радиостанции с мощностью не менее 10 Вт и антенны с направленной характеристикой, минимизирующей потери сигнала на местности с различным рельефом и растительностью.
В тоннелях использование стандартных радиоканалов затруднено из-за металлических и бетонных конструкций, вызывающих сильное затухание сигнала. Для компенсации устанавливаются репитеры и радиорелейные станции с поддержкой цифровых протоколов передачи. Рекомендуется применять системы с частотами в диапазоне UHF, обеспечивающие лучшую проникающую способность в замкнутых пространствах, а также использовать волоконно-оптические линии связи для подключения оборудования.
На станциях организуют сеть базовых станций с зональным покрытием, обеспечивающую одновременно голосовую и цифровую передачу для локомотивных бригад и обслуживающего персонала. Для повышения надежности применяется резервирование каналов связи и автоматическое переключение между базовыми станциями без потери соединения. Проводится регулярный контроль параметров сигнала и автоматическая диагностика состояния оборудования.
Требования к оборудованию включают устойчивость к вибрации, температурным перепадам и электромагнитным помехам, характерным для железнодорожной инфраструктуры. При проектировании радиосети учитывается плотность движения поездов и особенности инфраструктуры с целью минимизации интерференций и оптимизации спектра частот.
Вопрос-ответ:
Какие задачи должна выполнять поездная радиосвязь для обеспечения безопасности движения?
Поездная радиосвязь обеспечивает оперативный обмен информацией между машинистами, диспетчерами и техническим персоналом. Она позволяет передавать команды, предупреждения о состоянии пути и сигналах светофоров, а также информировать о возможных аварийных ситуациях. Это снижает риск столкновений и других происшествий, обеспечивая контроль и координацию движения на всех участках пути.
Какие особенности должна иметь радиосвязь в тоннелях и на перегоне для сохранения стабильного контакта?
В тоннелях и на перегоне радиосвязь требует использования специальных ретрансляторов и усилителей сигнала, поскольку конструкции тоннелей ослабляют радиоволны. Также применяют системы с частотным переключением и автоматическим восстановлением связи при потере сигнала. Эти меры обеспечивают стабильность передачи голосовых и служебных сообщений даже в сложных условиях.
Как реализуется автоматическая регистрация переговоров в поездной радиосвязи и для чего она нужна?
Автоматическая регистрация переговоров включает запись всех голосовых и служебных сообщений, передаваемых по радиоканалу. Эта функция используется для последующего анализа, контроля соблюдения регламентов и расследования инцидентов. Записи позволяют точно определить ход событий, а также выявить ошибки в работе персонала или технические неисправности.
Какие требования предъявляются к оборудованию поездной радиосвязи для обеспечения надежности?
Оборудование должно выдерживать вибрации и температурные перепады, характерные для железнодорожного транспорта. Важна высокая помехозащищённость и возможность работы в условиях электромагнитных наводок. Кроме того, необходимы функции самоконтроля и сигнализации о неисправностях, чтобы оперативно выявлять и устранять сбои.
Как поездная радиосвязь взаимодействует с системой управления движением поездов?
Радиосвязь обеспечивает передачу команд и данных между локомотивом и центром управления. Это включает согласование маршрутов, получение распоряжений и обмен информацией о состоянии путей. Синхронизация связи с системой управления позволяет контролировать скорость и положение поездов, что снижает вероятность ошибок и аварий.
Какие функции должна выполнять поездная радиосвязь для обеспечения безопасности движения?
Поездная радиосвязь обязана обеспечивать непрерывную связь между локомотивной бригадой и диспетчером, что позволяет быстро передавать информацию о состоянии пути, изменениях в графике движения и аварийных ситуациях. Она должна гарантировать передачу экстренных сигналов, предупреждать о возможных опасностях и поддерживать связь с техническим персоналом для оперативного реагирования на непредвиденные обстоятельства. Таким образом, радиосвязь становится важным элементом контроля и координации, снижающим риск инцидентов.
Какие особенности организации связи на перегоне, особенно в тоннелях, должна обеспечивать поездная радиосвязь?
На перегоне, особенно в тоннелях, радиосвязь должна поддерживать стабильный сигнал, несмотря на сложные условия передачи радиоволн. Для этого используются специальные ретрансляторы и усилители, которые компенсируют затухание сигнала. Также система должна автоматически переключаться между разными каналами или базовыми станциями, чтобы сохранить связь без прерываний. Такие меры позволяют машинистам и диспетчерам поддерживать контакт, что повышает безопасность и оперативность работы в условиях ограниченной видимости и повышенной сложности трассы.
